00:00:00
自动化概念
任务
- 理解PLC在工业自动化中的作用
什么是自动化?
在没有人的直接参与下,机器设备或生产管理过程通过自动检测、 信息处理、 分析判断自动地实现预期的操作或某种过程。
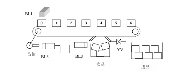
下面请看一个实例:物流自动检测系统
- 1、BL1 为检测次品的传感器,当检测到次品后,会有一个 ON 信号输出
- 2、电机每转一圈,物品就右移一格,同时 BL2 检测到凸轮信号,并就发出一个脉冲
- 3、当次品移到第 4 位时,自动打开电磁阀 YV,使次品下落至次品箱里,这样就完成了挑选良品和次品的动作。BL3 为检测次品的数量

像这样一个自动检测,自动分析处理信号,并自动完成我们预期要求功能的系统,我们就称之为自动化控制系统。
在这个系统里,分别要完成三部分的工作
- 检测(控制系统输入)
- 分析处理(程序处理)
- 驱动执行机构(执行挑选良品和次品的动作)
其实,在所有的自动化控制系统里,无非也就是只有这三部分的工作。
以人本身作为举例(人本身就是世界上最智能化的自动化系统)
A:
输入传感装置用于将外界的信号输入到控制中心,由如接近开关、光电开关、温度传感器(相当人的眼睛,皮肤)B:
中央处理单元负责把从外界接收的信号经过处理运算之后,输出到执行机构(相当人的大脑)C:
外部执行机构将 CPU 输出的信号进行处理,完成特定的工作,例如加热器、电磁阀、定位装置等(相当人的手脚)

而我们上面所看到的物流检测系统例子里,我们所看到的
BL1、BL2、BL3 为
输入装置
传送带、马达、电磁阀为
执行机构
提示
噫~~,我们的控制中心呢?跑哪去了?
别急,当然有,的,试问,没有大脑的人,能叫人吗?
一般控制系统都会安装在一个比较安全的单独的箱子里,一般我们叫这个箱子叫做控制柜,也叫电控柜。
哪~~,我们这个控制柜是怎么让这个系统动起来,怎么控制这个系统的呢?他们之间的关联又是什么 呢?
别急,请看下一篇,控制系统的硬件构成,即机械本体与控制中心的连接关系